手机:15662672636
电话:15662672636
邮箱:didihay@qq.com
地址:山东省济南市济阳县
发布时间:2025-03-09 点此:7307次

本实用新型涉及电机意外移动远程报警设备技术领域,具体为一种电梯的轿厢意外移动远程报警装置。
背景技术:
电梯是指服务于建筑物内若干特定的楼层,其轿厢运行在至少两列垂直于水平面或与铅垂线倾斜角小于15°的刚性轨道运动的永久运输设备,也有台阶式,踏步板装在履带上连续运行,俗称自动扶梯或自动人行道,服务于规定楼层的固定式升降设备,垂直升降电梯具有一个轿厢,运行在至少两列垂直的或倾斜角小于15°的刚性导轨之间,电梯随涉及人们的日常生活的更方面,其安全性能是一项重要的指标,电梯在停稳后,有可能会出现意外移动,导致电梯内的乘客受到惊吓或者受伤,意外移动后没有报警装置给乘客提示,也不能及时向电梯监控室传达故障消息,导致救援缓慢,可能会对乘客造成二次伤害等技术问题,鉴于此,针对上述问题深入研究,遂有本案产生。
技术实现要素:
针对现有技术的不足,本实用新型提供了一种电梯的轿厢意外移动远程报警装置,解决了现有的意外移动后没有报警装置给乘客提示,也不能及时向电梯监控室传达故障消息,导致救援缓慢,可能会对乘客造成二次伤害等技术问题。
为实现以上目的,本实用新型通过以下技术方案予以实现:一种电梯的轿厢意外移动远程报警装置,包括电梯井以及电梯轿厢,所述电梯轿厢活动安装于所述电梯井内,所述电梯井与电梯轿厢之间设有曳引结构,所述电梯轿厢上方设有辅助报警结构;
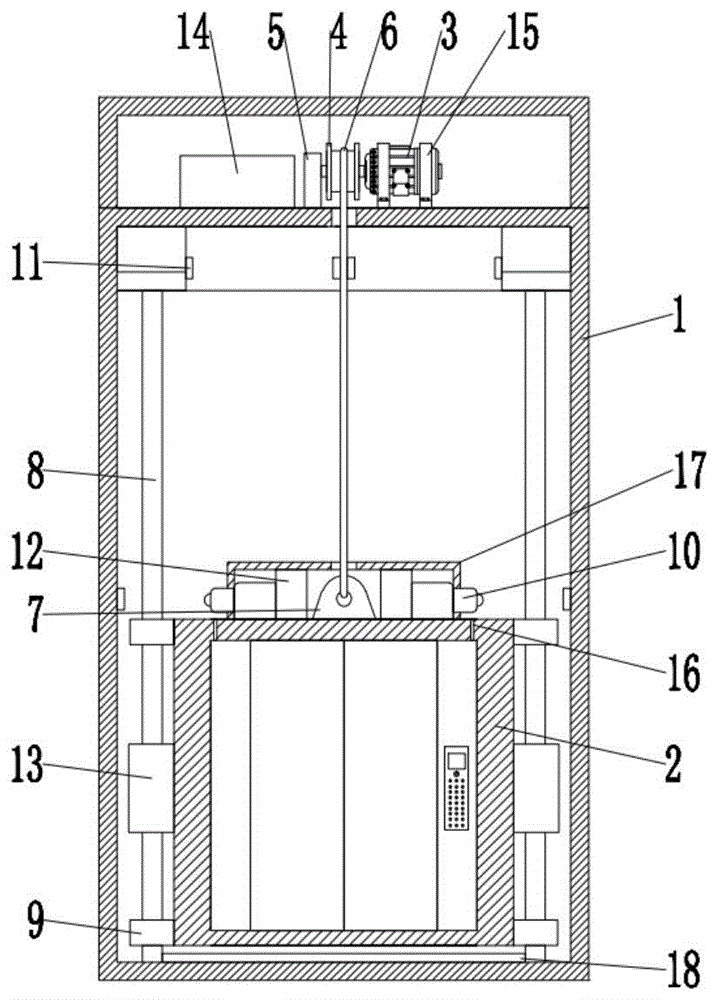
所述曳引结构,包括:曳引机、绕线轮、支撑块、钢丝绳、固定挂钩、四个导向柱以及八个导向块;
所述曳引机固定安装于所述电梯井上壁面处,所述绕线轮一端固定安装于所述曳引机驱动端上,所述支撑块固定安装于所述电梯井上壁面处且一侧与所述绕线轮另一端连接,所述钢丝绳一端固定缠绕于所述绕线轮上,所述固定挂钩固定安装于所述电梯轿厢外上壁面中心处且与所述钢丝绳另一端连接,四个所述导向柱两端均与所述电梯井上下两端壁面连接且分别位于所述电梯井四角处,所述八个导向块分别安装于所述电梯轿厢两侧外壁面四角处且均活动套装于四个所述导向柱上。
优选的,所述辅助报警结构,包括:四个红外接收器、八个红外发射探头、数据处理器、四个制动刹车以及警报器;
四个所述红外接收器均安装于所述电梯轿厢上壁面处,八个所述红外发射探头均安装于所述电梯井内壁面处且与四个所述红外接收器配合,所述数据处理器安装于所述电梯轿厢上壁面处且与四个所述红外接收器连接,四个所述制动刹车分别安装于所述电梯轿厢外壁面处且均活动套装于四个导向柱上,四个所述制动刹车均与所述数据处理器电连接,所述警报器安装于所述电梯井上壁面处且于所述数据处理器电连接。
优选的,所述曳引机与所述电梯井连接处设有曳引机架。
优选的,所述电梯轿厢上壁面处开设有排气孔。
优选的,四个所述红外接收器以及数据处理器上方设有保护罩。
优选的,所述电梯井内下壁面处设有防撞垫。
有益效果
本实用新型提供了一种电梯的轿厢意外移动远程报警装置,具备以下有益效果:本案采用的曳引结构,通过曳引机的转动带动电梯轿厢在电梯井内匀速平稳移动,采用的辅助报警结构,通过红外发射器与红外接收器相配合,当发生意外移动时,红外接收器接收不到发射器发出的信号时,将信息传输到数据处理器内,通过数据处理器控制制动刹车进行工作,将电梯轿厢固定在电梯井内,再通过数据处理器将报警信号输送到警报器以及电梯监控室内,达到电梯轿厢意外移动远程报警的目的,本案还具有,结构简单,造价低廉且有效的减少了由电梯意外移动给乘客造成的二次伤害的几率等有益效果。
附图说明
图1为本实用新型所述一种电梯的轿厢意外移动远程报警装置的主视结构示意图。
图2为本实用新型所述一种电梯的轿厢意外移动远程报警装置的侧视结构示意图。
图3为本实用新型所述一种电梯的轿厢意外移动远程报警装置的结构关系框图。
图中:1-电梯井;2-电梯轿厢;3-曳引机;4-绕线轮;5-支撑块;6-钢丝绳;7-固定挂钩;8-导向柱;9-导向块;10-红外接收器;11-红外发射探头;12-数据处理器;13-制动刹车;14-警报器;15-曳引机架;16-排气孔;17-保护罩;18-防撞垫。
具体实施方式
下面将结合本实用新型实施例中的附图,对本实用新型实施例中的技术方案进行清楚、完整地描述,显然,所描述的实施例仅仅是本实用新型一部分实施例,而不是全部的实施例。基于本实用新型中的实施例,本领域普通技术人员在没有做出创造性劳动前提下所获得的所有其他实施例,都属于本实用新型保护的范围。
请参阅图1-3,本实用新型提供一种技术方案:一种电梯的轿厢意外移动远程报警装置,本案的主要组件为:电梯井1以及电梯轿厢2,电梯轿厢2活动安装于电梯井1内,电梯井1与电梯轿厢2之间设有曳引结构,电梯轿厢2上方设有辅助报警结构;
需要说明的是,当需要电梯工作时,由安装在电梯井1与电梯轿厢2之间的曳引结构工作,将带动安装在电梯井1内的电梯轿厢2移动,当电梯轿厢2停好后发生意外移动时,由辅助报警结构实现远程报警。
在具体实施过程中,曳引装置,包括:曳引机3、绕线轮4、支撑块5、钢丝绳6、固定挂钩7、四个导向柱8以及八个导向块9;
曳引机3固定安装于电梯井1上壁面处,绕线轮4一端固定安装于曳引机3驱动端上,支撑块5固定安装于电梯井1上壁面处且一侧与绕线轮4另一端连接,钢丝绳6一端固定缠绕于绕线轮4上,固定挂钩7固定安装于电梯轿厢2外上壁面中心处且与钢丝绳6另一端连接,四个导向柱8两端均与电梯井1上下两端壁面连接且分别位于电梯井四角处,八个导向块9分别安装于电梯轿厢2两侧外壁面四角处且均活动套装于四个导向柱8上。
需要说明的是,当需要电梯进行工作时,由安装在电梯井1上方的曳引机3通电转动,通过曳引机3带动绕线轮4在支撑块5的支撑下转动,通过钢丝绳6以及固定挂钩7拉动电梯轿厢2移动,使安装在电梯轿厢2上的八个导向块9在四个导向柱8上移动,从而实现电梯轿厢2在电梯井1内平稳移动。
在具体实施过程中,辅助报警结构,包括:四个红外接收器10、八个红外发射探头11、数据处理器12、四个制动刹车13以及警报器14;
四个红外接收器10均安装于电梯轿厢2上壁面处,八个红外发射探头11均安装于电梯井1内壁面处且与四个红外接收器10配合,数据处理器12安装于电梯轿厢2上壁面处且与四个红外接收器10连接,四个制动刹车13分别安装于电梯轿厢2外壁面处且均活动套装于四个导向柱8上,四个制动刹车13均与数据处理器12电连接,警报器14安装于电梯井1上壁面处且于数据处理器12电连接。
需要说明的是,当电梯轿厢停好后发生意外移动时,安装在电梯轿厢上壁面的红外接收器接收不到红外发射器发出的信号时,由红外接收器将信息传输到数据处理器内,通过数据处理器控制制动刹车进行工作,将电梯轿厢固定在电梯井内,再通过数据处理器将报警信号输送到警报器以及电梯监控室内,达到电梯轿厢意外移动远程报警的目的。
在具体实施过程中,进一步的,曳引机3与电梯井1连接处设有固定曳引机3的曳引机架15。
在具体实施过程中,进一步的,电梯轿厢2上壁面处开设有便于电梯轿厢2内透风进气的排气孔16。
在具体实施过程中,进一步的,四个红外接收器10以及数据处理器12上方设有保护四个红外接收器10以及数据处理器12的保护罩17。
在具体实施过程中,进一步的,电梯井1内下壁面处设有防止电梯轿厢2撞击电梯井1下壁面的防撞垫18。
需要说明的是,在本文中,诸如第一和第二等之类的关系术语仅仅用来将一个实体或者操作与另一个实体或操作区分开来,而不一定要求或者暗示这些实体或操作之间存在任何这种实际的关系或者顺序。而且,术语“包括”、“包含”或者其任何其他变体意在涵盖非排他性的包含,从而使得包括一系列要素的过程、方法、物品或者设备不仅包括那些要素,而且还包括没有明确列出的其他要素,或者是还包括为这种过程、方法、物品或者设备所固有的要素。在没有更多限制的情况下。由语句“包括一个......限定的要素,并不排除在包括所述要素的过程、方法、物品或者设备中还存在另外的相同要素”。
尽管已经示出和描述了本实用新型的实施例,对于本领域的普通技术人员而言,可以理解在不脱离本实用新型的原理和精神的情况下可以对这些实施例进行多种变化、修改、替换和变型,本实用新型的范围由所附权利要求及其等同物限定。
